MACRO VIEW
SKU: RM02-001
316L SS Fully Threaded Thru-Hull Fitting
Universal-fit fully threaded 316L thru-hull. CNC-machined to provide micro-adjustable bulkhead fastening across variable hull thicknesses.
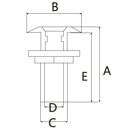
Select Dimensions
Material Grade 316L Stainless
Process Sol Casting
Spectrum SGS Tested
Premium Material100% AISI 316/316L
Flexible MOQSupport Mixed Orders
OEM / ODM20-Day Fast Tooling
Global DispatchFOB Qingdao / Tianjin
Design & Structural Advantages
Continuous Thread Engagement
Fully threaded shank enables secure mechanical lock-down on any hull thickness with absolute perpendicular alignment.
NPT/BSP Thread Precision
CNC-machined threads guarantee 100% watertight integrity against engine vibration and hull torsion.
Galvanic Isolation Prep
High-purity 316L stainless steel significantly reduces the risk of metal degradation from stray currents.
Dimensional Specifications
| RM02-001 | 3/8" Fully Threaded Thru-Hull Fitting | 59 | 35 | 16.5 | 11 | 54 |
| RM02-001 | 1/2" Fully Threaded Thru-Hull Fitting | 63 | 40 | 21 | 14 | 58 |
| RM02-001 | 3/4" Fully Threaded Thru-Hull Fitting | 75 | 49 | 26 | 19 | 69 |
| RM02-001 | 1" Fully Threaded Thru-Hull Fitting | 78.5 | 54 | 33.5 | 25.4 | 72 |
| RM02-001 | 1-1/4" Fully Threaded Thru-Hull Fitting | 84 | 64 | 43 | 34.5 | 78.5 |
| RM02-001 | 1-1/2" Fully Threaded Thru-Hull Fitting | 85 | 72 | 48 | 38.5 | 79 |
| RM02-001 | 2" Fully Threaded Thru-Hull Fitting | 100 | 85 | 60 | 50.8 | 95 |
| RM02-001 | 2-1/2" Fully Threaded Thru-Hull Fitting | 119 | 101 | 75 | 64.5 | 110 |
Standard Export Packaging
Every piece follows a strict 3-step protocol: bubble wrap ➔ heavy-duty cartons ➔ ISPM-15 pallets.
Direct Factory Quote
Start Your Inquiry
Provide your target quantities. Our engineers will return an official quotation within 24 hours.
Inquiring Item:
316L SS Fully Threaded Thru-Hull Fitting
Email Us
sales@rymarmarine.com
Call / WhatsApp
+86 199 5322 9111